Autoblog and Yahoo may earn commission from links in this article.
Plug-In Pickups Are Already Out There
Electrified pickups are slowly gaining ground, but plug-in hybrid versions are still a rare sight in the U.S. In other parts of the world, though, they’re already much more common.
Ford has rolled out the Ranger PHEV, while China’s BYD is pushing the Shark plug-in hybrid pickup in markets like Mexico, Asia, and Australia. Nissan has also introduced a plug-in version of the Frontier overseas.
Toyota has also been pushing electrification in its pickups, but mostly outside America, with the company showing off a battery-electric Hilux. But the Tacoma, Toyota’s main midsize pickup in the US, still doesn’t have a plug-in version.
That may be something the Japanese automaker is studying. Two recently published patent applications, first spotted by CarBuzz, describe a plug-in hybrid pickup truck configuration designed around battery placement and packaging.
Filed with the US Patent and Trademark Office in August 2025 (patent numbers 20260061820 and 20260061819 if you want to check), these documents were published in March.

USPTO
View the 2 images of this gallery on the original article
Toyota’s Patent Focuses on Where the Batteries Go
The patents aren’t about launching a new truck just yet. Instead, they tackle a practical question: where do you put a big battery in a body-on-frame pickup?
Pickups aren’t like passenger cars underneath. The engine, transmission, driveshaft, exhaust, and suspension all fight for space below the floor. That leaves little room for the kind of big battery pack a plug-in hybrid needs.
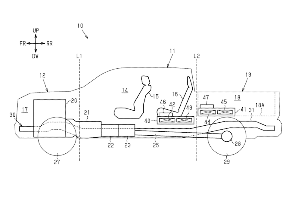
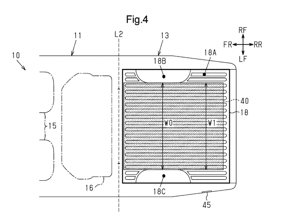
One patent shows a single main battery mounted under the cargo bed floor, tucked between the rear wheels and above the frame rails. The bed floor sits a bit higher to make space, but the cab floor stays mostly the same.
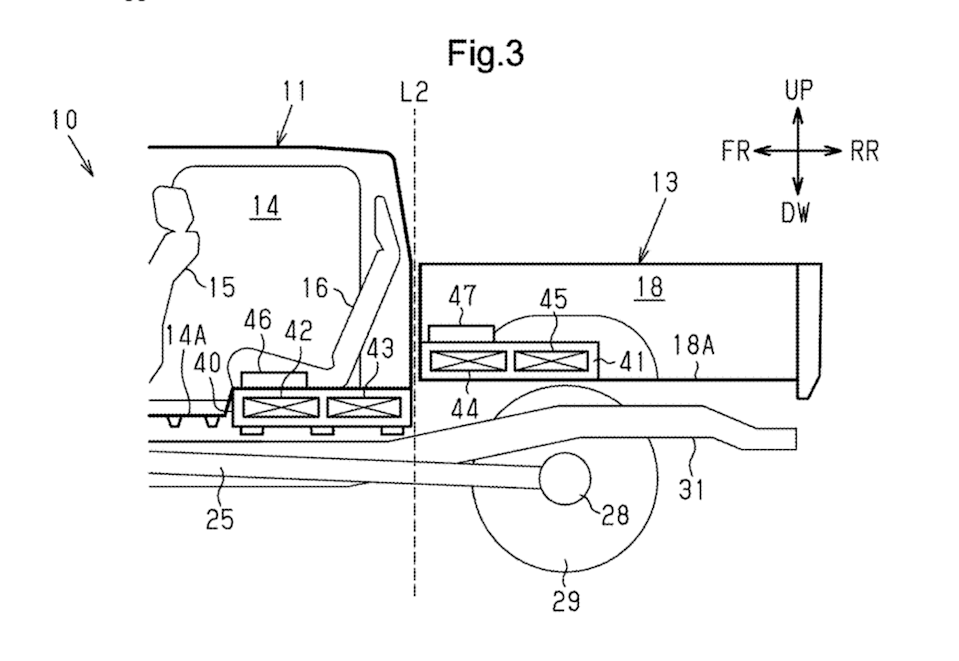
The other patent takes a different approach by splitting the battery system into two packs. One battery is located under the rear passenger area, while the other is beneath the cargo bed. Together, they power the electric motor while spreading the weight across the truck.
Both designs are meant to keep the pickup’s usual strengths. The bed stays usable, the cabin feels familiar, and all the important drivetrain parts still fit inside the frame.

USPTO
View the 2 images of this gallery on the original article
Could This Be for a Plug-In Tacoma?
Since these patents were filed and published in the US, it’s fair to assume Toyota is considering options for the American market.
That brings up the obvious question: could a plug-in hybrid Tacoma be on the way? Toyota already sells the Tacoma with the i-Force Max hybrid, but a plug-in would take electric driving a step further. The setups in these patents could let Toyota add a larger battery without sacrificing the Tacoma’s off-road chops or cargo space.
Of course, patents don’t guarantee a new model. Automakers file plenty of ideas that never see the light of day. These filings just give us a peek at what Toyota’s engineers are working on behind the scenes.
However, the timing is interesting since more electrified pickups are hitting the market worldwide. Toyota seems to be testing ways to bring plug-in tech to its trucks – whether that means a plug-in Tacoma is coming is anyone’s guess.

USPTO
View the 4 images of this gallery on the original article
This story was originally published by Autoblog on Mar 22, 2026, where it first appeared in the News section. Add Autoblog as a Preferred Source by clicking here.