Toyota patents show work on plug-in hybrid pickup truck with battery packs in cargo bed and underbody. Learn about PHEV pickup market and Toyota’s electrification strategy.
Toyota is continuing to develop its multi-path electrification strategy, and new patents suggest the company is working on a plug-in hybrid pickup truck. Two patent applications have appeared in the World Intellectual Property Organization database, which indirectly points to active development. Both concepts focus on placing battery packs in the cargo bed area, where body-on-frame pickups traditionally have more space.
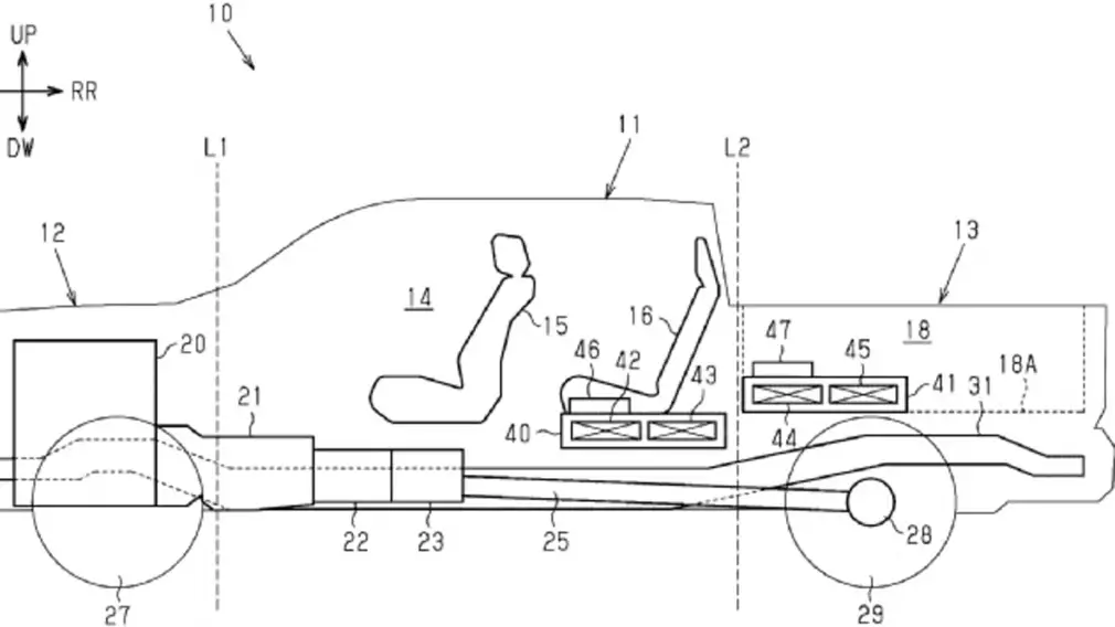
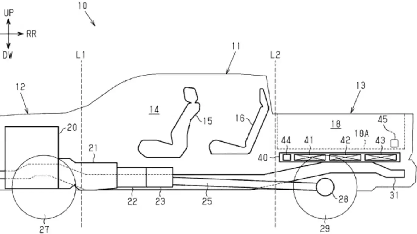
The first patent describes a PHEV pickup where the entire battery unit is positioned under the body, around the driveshaft leading to the rear wheels. A protective panel is placed between the frame and the cargo bed, with the charging port routed to the rear. This architecture minimizes changes to the chassis design and utilizes unused volume without interfering with the fuel system or transmission.
The second patent is more complex: the battery is split into two modules. One is placed under the rear seats of a Crew Cab configuration, and the second is positioned under the center of the body. Distributing the mass improves handling and reduces the battery’s impact on suspension geometry, while the layout allows it to work around components of the internal combustion platform—like the exhaust, transmission, and fuel tank.

Although patent filings don’t guarantee production, expanding protection in the U.S. indicates the topic is strategically important for Toyota. The PHEV pickup segment is just taking shape: the Ram 1500 REV (Ramcharger) has already been announced, and Ford is preparing a Ranger PHEV, though not for the U.S. market. If fuel prices keep rising, hybrid pickups could become a logical compromise—offering high torque and range without the massive batteries of a BEV.
Toyota, which adheres to a “right product for every segment” philosophy, clearly sees a hybrid pickup as the next step in developing its Tacoma/Hilux lineup. The patents confirm that work is underway, and the market appears to be maturing for such a solution.