Toyota is among the leaders in the plug-in hybrid vehicle market with its popular PHEV variants of the Prius and RAV4. Plus, the brand has an extensive range of hybrid and fully electric vehicles. CarBuzz found two recent patents that provide a glimpse at what the automaker is planning for a potential future PHEV pickup. Both of them mount the battery packs in the cargo bed to some extent.

Base Trim Engine
2.4L I-FORCE I4 ICE
Base Trim Transmission
8-speed automatic
Base Trim Drivetrain
Rear-Wheel Drive
Base Trim Horsepower
228 HP @6000 RPM
Base Trim Torque
243 lb.-ft. @ 1600 RPM
Base Trim Fuel Economy (city/highway/combined)
20/26/23 MPG
Infotainment & Features
9 /10
While filing a patent isn’t necessarily a sign that a company plans to introduce the new technology, a plug-in hybrid pickup would fit with Toyota’s current brand strategy. Rather than replacing every model with an EV, the company is taking a targeted approach to match the needs of the various segments. Some are becoming regular hybrids, while others get PHEV variants.
What’s Toyota Planning?

Toyota PHEV Pickup PatentWIPO / Toyota
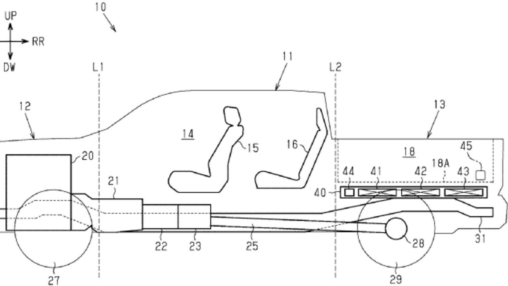
One of the patents covers a plug-in hybrid pickup where the entire battery pack would be underneath the cargo bed and arranged so that it would surround the driveshaft that’s sending power to the rear wheels. There would be a panel separating the bed floor and frame that would protect the battery. The charging port would be at the rear of the bed.
Related
Toyota’s New Pickup And SUV Will Arrive Just In Time To Battle Scout’s Terra And Traveler
Toyota is literally going big on EVs in the near future without departing from its multi-faceted approach to carbon neutrality.
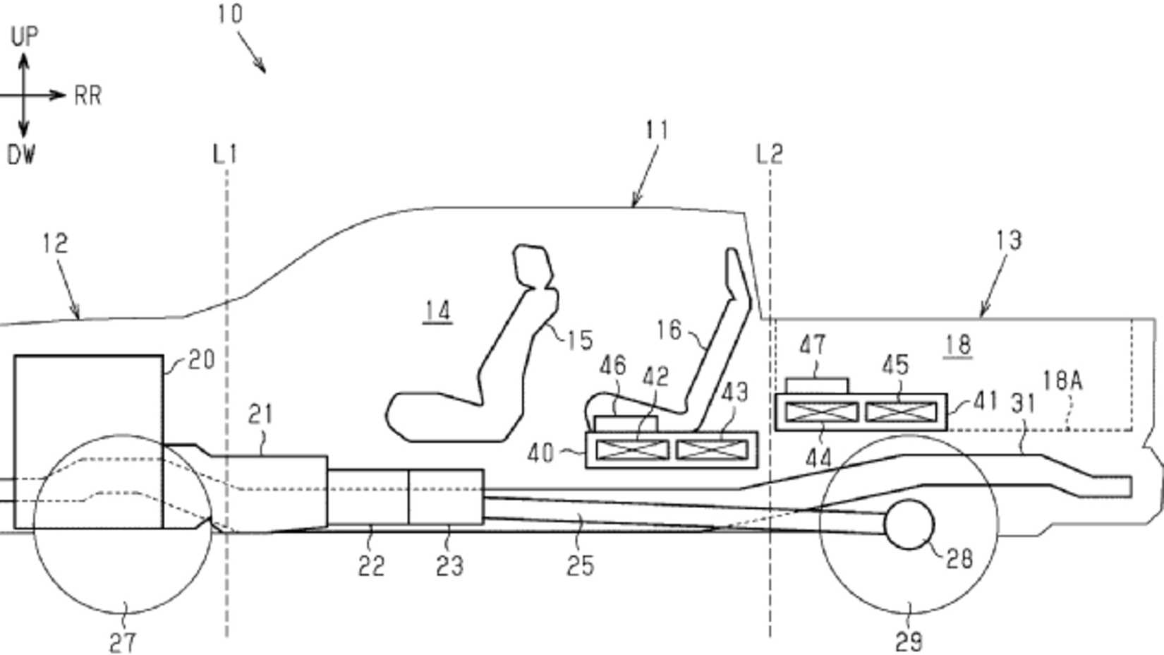
The other patent is similar except for the location of the battery. Such a pickup would have two packs. One would be under a crew cab truck’s rear seats, and the other would be beneath the bed near the middle of the vehicle. Such a setup would localize the battery’s mass near the pickup’s center. In addition, this more complicated layout would route around the transmission, exhaust, and fuel tank.

Toyota PHEV Pickup PatentWIPO / Toyota
The documentation notes that Toyota filed these patents first in Japan in 2022. Now, it has gained certification for the ideas in the US. While there’s no official confirmation of such a vehicle coming to the country, it seems like a strong sign of the company’s plans that it’s extending the patent to here as well.
The Right Move At The Right Time?

2026 Ram 1500 REVRam
So far, the plug-in hybrid pickup is still a fresh segment. The Ram 1500 REV, formerly branded as the Ramcharger, is the most notable upcoming example. Ford is also developing a PHEV version of the Ranger, but doesn’t plan to bring it to the US.

Related
Toyota Ready To Fight Back Against Ford Ranger Plug-In Hybrid
A report from Japan stipulates that the long-running Hilux nameplate will be electrified in its next iteration.
If gas prices continue to be high, then Toyota and Ram could be at the right place at the right time. People would still want pickups, but they wouldn’t want to pay as much at the pump. A PHEV could be the perfect solution.
Patent filings do not guarantee the use of such technology in future vehicles and are often used exclusively as a means of protecting intellectual property. Such a filing cannot be construed as confirmation of production intent.
Source: US Patent And Trademark Office
